InnoDB 스토리지 엔진은 MySQL에서 제공하는 잠금과는 별개로 스토리지 엔진 내부에서 레코드 기반의 잠금 방식을 탑재하고 있다.
InnoDB는 레코드 기반의 잠금 방식 때문에 MyISAM보다는 훨씬 뛰어난 동시성 처리를 제공할 수 있다.
▶ InnoDB 스토리지 엔진의 잠금
- InnoDB 스토리지 엔진은 레코드 기반의 잠금 기능을 제공하며, 잠금 정보가 상당히 작은 공간으로 관리되기 때문에 레코드 락이 페이지 락으로, 또는 테이블 락으로 레벨업되는 경우(락 에스컬레이션)는 없다.
- 일반 상용 DBMS와는 조금 다르게 InnoDB 스토리지 엔진에서는 레코드 락뿐 아니라 레코드와 레코드 사이의 간격을 잠그는 갭(GAP) 락이라는 것이 존재하는데, 아래 그림은 InnoDB 스토리지 엔진의 레코드 락과 레코드 간의 간격을 잠그는 갭 락을 보여준다.

아래에서 차례로 락 종류에 대해 살펴본다.
▶ 레코드 락 (Record lock)
- 레코드 자체만을 잠그는 것을 레코드 락(Record lock, Record only lock)이라고 하며, 다른 상용 DBMS의 레코드 락과 동일한 역할을 한다.
- 한 가지 중요한 차이는 InnoDB 스토리지 엔진은 레코드 자체가 아니라 인덱스의 레코드를 잠그다는 점이다.
- 인덱스가 하나도 없는 테이블이더라도 내부적으로 자동 생성된 클러스터 인덱스를 이용해 잠금을 설정하낟.
- InnoDB에서는 대부분 보조 인덱스를 이용한 변경 작업은 이어서 설명할 넥스트 키 락(Next Key lock) 또는 갭 락(Gap lock)을 사용하지만 프라이머리 키 또는 유니크 인덱스에 의한 변경 작업에서는 갭(Gap, 간격)에 대해서는 잠그지 않고 레코드 자체에 대해서만 락을 건다.
▶ 갭 락 (Gap lock)
- 갭 락(Gap lock)은 레코드 자체가 아니라 레코드와 바로 인접한 레코드 사이의 간격만을 잠그는 것을 의미한다.
- 갭 락의 역할은 레코드와 레코드 사이의 간격에 새로운 레코드가 생성(INSERT)되는 것을 제어하는 것이다.
▶ 넥스크 키 락 (Next Key lock)
- 레코드 락과 갭 락을 합쳐놓은 형태의 잠금을 의미한다.
- InnoDB의 갭 락이나 넥스트 키 락은 바이너리 로그에 기록되는 쿼리가 레플리카 서버에서 실행될 때 소스 서버에서 만들어 낸 결과와 동일한 결과를 만들어내도록 보장하는 것이 주목적이다.
- 하지만 의외로 넥스트 키 락과 갭 락으로 인해 데드락이 발생하거나 다른 트랜잭션을 기다리게 만드는 일이 자주 발생해 가능하다면 바이너리 로그 포맷을 ROW 형태로 바꿔서 넥스트 키 락이나 갭 락을 줄이는 것이 좋다.
▶ 자동 증가 락
- MySQL에서는 자동 증가하는 숫자 값을 추출하기 위해 AUTO_INCREMENT라는 칼럼 속성을 제공한다.
- AUTO_INCREMENT 칼럼이 사용된 테이블에 동시에 여러 레코드가 INSERT되는 경우, 저장되는 각 레코드는 중복되지 않고 저장된 순서대로 증가하는 일련번호 값을 가져야 한다.
- InnoDB 스토리지 엔진에서는 이를 위해 내부적으로 AUTO_INCREMENT 락(Auto increment lock)이라고 하는 테이블 수준의 잠금을 사용한다.
▶ 인덱스와 잠금
"레코드 락"을 소개하면서 언급했듯이 InnoDB의 잠금은 레코드를 잠그는 것이 아니라 인덱스를 잠그는 방식으로 처리된다.
즉, 변경해야 할 레코드를 찾기 위해 검색한 인덱스의 레코드를 모두 걸어야 한다. 다음 UPDATE 문장을 보자
-- // 예제 데이터베이스의 employees 테이블에는 아래와 같이 first_name 칼럼만
-- // 멤버로 담긴 ix_firstname이라는 인덱스가 준비돼 있다.
-- // KEY ix_firstname (first_name)
-- // employees 테이블에서 first_name='Georgi'인 사원은 전체 253명이 있으며,
-- // first_name='Georgi'이고 last_name='Klassen'인 사원은 딱 1명만 있는 것을 아래 쿼리로 확인할 수 있다.
mysql> SELECT COUNT(*) FROM employees WHERE first_name='Georgi';
+--------+
| 253|
| |
+--------+
mysql> SELECT COUNT(*) FROM employees WHERE first_name='Georigi' AND last_name='Klassen';
+--------+
| 1|
| |
+--------+
-- // employees 테이블에서 first_name='Georgi'이고 last_name='Klassen'인 사원의
-- // 입사 일자를 오늘로 변경하는 쿼리를 실행해보자
mysql> UPDATE employees SET hire_date=NOW() WHERE first_name='Georgi' AND last_name='Klassen';
update 문장이 실행되면 1건의 레코드가 업데이트 될 것이다. 하지만 이 1건의 업데이트를 위해 몇 개의 레코드에 락을 걸어야 할까?
- 이 UPDATE문장의 조건에서 인덱스를 이용할 수 있는 조건은 first_name='Georgi'이며, last_name 칼럼은 인덱스가 없기 때문에 first_name='Georgi'인 레코드 253건의 레코드가 모두 잠긴다.

이 테이블에 인덱스가 하나도 없다면 어떻게 될까?
- 테이블을 풀 스캔하면서 UPDATE 작업을 하는데, 이 과정에서 테이블에 있는 30여만 건의 모든 레코드를 잠그게 된다.
- 이것이 MySQL의 방식이며, InnoDB에서 인덱스 설계가 중요한 이유이다.
▶ MySQL의 격리 수준
트랜잭션의 격리 수준(isolation level)이란 여러 트랜잭션이 동시에 처리될 때 특정 트랜잭션이 다른 트랜잭션에서 변경하거나 조회하는 데이터를 볼 수 있게 허용할지 말지를 결정하는 것이다.
트랜잭션 격리 수준은
- READ UNCOMMITTED
- READ COMMITTED
- REPEATABLE READ
- SERIALIZABLE
이며 순서대로 뒤로 갈수록 각 트랜잭션 간의 데이터 격리(고립) 정도가 높아지며, 동시 처리 성능도 떨어진다.
| DIRTY READ | NON-REPEATABLE READ | PHANTOM READ | |
| READ UNCOMMITTED | 발생 | 발생 | 발생 |
| READ COMMITTED | 없음 | 발생 | 발생 |
| REPEATABLE READ | 없음 | 없음 | 발생 (InnoDB는 없음) |
| SERIALIZABLE | 없음 | 없음 | 없음 |
→ Oracle DBMS : READ COMMITTED
→ MySQL DBMS : REPEATABLE READ
▶ READ UNCOMMITTED
- READ UNCOMMITTED 격리 수준에서는 각 트랜잭션에서의 변경 내용이 COMMIT이나 ROLLBACK 여부에 상관 없이 다른 트랜잭션에서 보인다.

→ 이처럼 어떤 트랜잭션에서 처리한 작업이 완료되지 않았는데도 다른 트랜잭션에서 볼 수 있는 현상을 더티 리드(Dirty read)라 한다.
▶ READ COMMITTED

- 더티 리드가 발생하지 않는다
- 어떤 트랜잭션에서 데이터를 변경했더라도 COMMIT이 완료된 데이터만 다른 트랜잭션에서 조회할 수 있기 때문이다
- READ COMMITTED 격리 수준에서는 어떤 트랜잭션에서 변경한 내용이 커밋되기 전까지는 다른 트랜잭션에서 그러한 변경 내역을 조회할 수 없다.
- READ COMMITTED 격리 수준에서도 "NON-REPEATABLE READ"("REPEATABLE READ"가 불가능하다)라는 부정합의 문제가 있다.
[NON-REPEATABLE READ]

→ 사용자 B가 하나의 트랜잭션 내에서 똑같은 SELECT 쿼리를 실행했을 때는 항상 같은 결과를 가져와야 한다는 정합성에 어긋난다.
- READ COMMITTED 격리 수준에서는 트랜잭션 내에서 실행되는 SELECT 문장의 차이를 혼동하는 경우가 있다. READ COMMITTED 격리 수준에서는 트랜잭션 내에서 실행되는 SELECT 문장과 트랜잭션 외부에서 실행되는 SELECT 문장의 차이가 별로 없다. 하지만 REPEATABLE READ 격리 수준에서는 기본적으로 SELECT 쿼리 문장도 트랜잭션 범위 내에서만 작동한다.
▶ REPEATABLE READ
REPEATABLE READ는 MySQL의 InnoDB 스토리지 엔진에서 기본으로 사용되는 격리 수준이다.
- 해당 격리 수준에서는 NON-REPEATABLE READ 부정합이 발생하지 않는다.
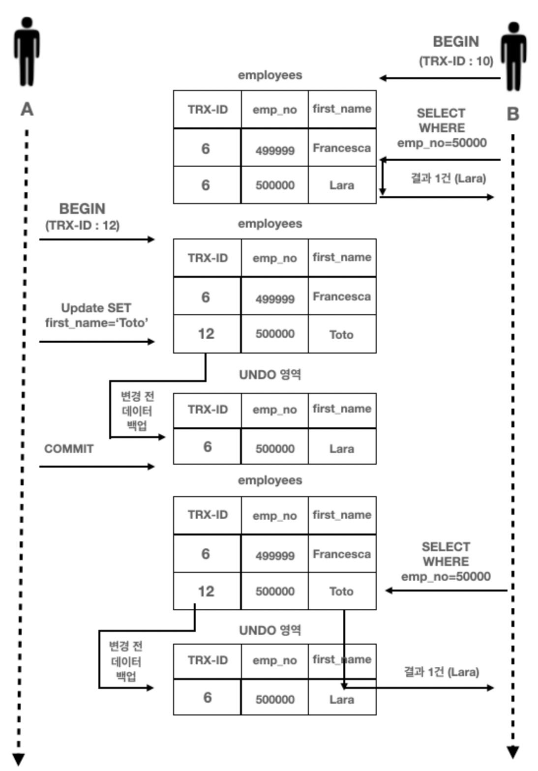
- REPEATABLE READ는 MVCC를 위해 언두 영역에 백업된 이전 데이터를 이용해 동일 트랜잭션 내에서는 동일한 결과를 보여줄 수 있게 보장한다.
- REPEATABLE READ와 READ COMMITTED의 차이는 언두 영역에 백업된 레코드의 여러 버전 가운데 몇 번째 이전 버전가지 찾아 들어가야 하느냐에 있다.
- REPEATABLE READ 격리 수준에서는 MVCC를 보장하기 위해 실행 중인 트랜잭션 가운데 가장 오래된 트랜잭션 번호보다 트랜잭션 번호가 앞선 언두 영역의 데이터는 삭제할 수가 없다.
- 그렇다고 가장 오래된 트랜잭션 번호 이전의 트랜잭션에 의해 변경된 모든 언두 데이터가 필요한 것은 아니다. 더 정확하게는 특정 트랜잭션 번호의 구간 내에서 백업된 언두 데이터가 보존돼야 한다.

- 트랜잭션 ID가 12인 A가 Update를 하고 Commit을 했다 하더라도 트랜잭션 ID 10인 B가 SELECT를 하면 자신의 트랜잭션 ID보다 작은 트랜잭션 ID에서 변경한 것만 보게 된다.
REPEATABLE READ 격리 수준에서도 아래와 같은 부정합이 발생할 수 있다.

A가 employees 테이블에 INSERT를 실행하는 도중에 사용자 B가 SELECT ... FOR UPDATE 쿼리로 employees 테이블을 조회했을 때 다른 결과가 조회되는 것을 나타낸다.
이렇게 다른 트랜잭션에서 수행한 변경 작업에 의해 레코드가 보였다 안보였다 하는 현상을 PHANTOM READ라고 한다.
[ NON-REPEATABLE READ vs PHANTOM READ ]
→ NON REPEATABLE READ는 트랜잭션이 진행되는 동안 행이 두 번 검색되고 행 내의 값이 읽기 간에 다를 때 발생
→ PHANTOM READ는 트랜잭션 과정에서 두 개의 동일한 쿼리가 실행되고 두 번째 쿼리에서 반환된 행 모음이 첫 번째 쿼리와 다를 때 발생
▶ SERIALIZABLE
- InnoDB 테이블에서 기본적으로 순순한 SELECT 작업(INSERT ... SELECT ... 또는 CREATE TABLE ... AS SELECT ...가 아닌)은 아무런 레코드 잠금도 설정하지 않고 실행된다.
- InnoDB 매뉴얼에서 자주 나타나는 "Non-locking consistent read(잠금이 필요 없는 일관된 읽기)"라는 말이 이를 의미한다.
- 트랜잭션의 격리 수준이 SERIALIZABLE로 설정되면 읽기 작업도 공유 잠금(읽기 잠금)을 획득해야만 하며, 동시에 다른 트랜잭션은 그러한 레코드를 변겅하지 못하게 된다.
- 즉, 한 트랜잭션에서 읽고 쓰는 레코드를 다른 트랜잭션에서는 절대 접근할 수 없는 것이다.
SERIALIZABLE 격리 수준에서는 일반적인 DBMS에서 일어나는 "PHANTOM READ"라는 문제가 발생하지 않는다. 하지만 InnoDB 스토리지 엔진에서는 갭 락과 넥스트 키 락 덕분에 REPEATABLE READ 격리 수준에서도 이미 "PHANTOM READ"가 발생하지 않기 때문에 굳이 사용할 필요가 없다.
'CS > MySQL' 카테고리의 다른 글
| MySQL 인덱스(index)와 B-Tree 인덱스 [1/2] (0) | 2023.07.05 |
|---|---|
| MySQL 데이터 압축 (페이지 압축, 테이블 압축) (0) | 2023.07.03 |
| MySQL 트랜잭션이란? MySQL 잠금(Lock) (0) | 2023.07.01 |
| MySQL InnoDB 스토리지 엔진 아키텍처 / MVCC / 자동 데드락 감지 / 자동화 장애 복구 (0) | 2023.06.25 |
| MySQL 쿼리 실행 구조 / MySQL 복제 / 트랜잭션 지원 메타 데이터(MySQL 5.7 vs 8.0) (0) | 2023.06.23 |